Cyklodoprava je v súčasnosti medzi odborníkmi na dopravu, urbanistami, ochranármi životného prostredia aj verejnosťou obľúbenou a často diskutovanou témou. O originálnom riešení budovania cyklotratí aj na nevyužívaných železničných tratiach sme sa rozprávali s profesorom Ľubomírom Šoošom, dekanom Strojníckej fakulty Slovenskej technickej univerzity v Bratislave.

Prečo ste sa začali venovať aj cyklodoprave?
Problematika funkčných cyklotrás je dlhodobým a najmä pálčivým problémom Slovenska. Cyklodoprava v sebe spája mnohé prednosti, ktoré súvisia jednak so zdravým životným štýlom, environmentálnym prístupom k doprave a v neposlednom rade aj s rozvojom daného regiónu.
Už v roku 2013 schválila vláda SR návrh Národnej stratégie rozvoja cyklistickej dopravy a cykloturistiky v Slovenskej republike. Jedným z jej základných cieľov je zrovnoprávnenie cyklistickej dopravy vo vzťahu k ostatným druhom dopravy, zlepšenie vnímania cyklistov v dopravnom priestore, posilnenie cykloturistiky, podpora cestovného ruchu a zlepšenie mobility, zlepšenie povedomia obyvateľstva o ekonomických (nárast cien pohonných látok a cestovných nákladov), ekologických a zdravotných benefitoch cyklistickej dopravy.
Dr. h. c. prof. Ing. Ľubomír Šooš, PhD., je dekan Strojníckej fakulty STU v Bratislave a profesor v odbore výrobná technika, konštrukcia výrobnej techniky a environmentálnej techniky. Orientuje sa na výskum a inovácie predovšetkým konštrukčných uzlov obrábacích strojov, ako aj environmentálnej techniky. Bol riešiteľom viac ako 39 medzinárodných a národných výskumných projektov, publikoval takmer 300 vedeckých článkov, je autorom 62 patentov, priemyselných vzorov a zlepšovacích návrhov. Je viceprezidentom Zväzu automobilového priemyslu SR a Zväzu strojárskeho priemyslu SR. Pôsobí aj vo Výbore pre vedu, výskum a inovácie pri APZD či v Združení kancelárií pre spoluprácu s priemyslom, kde je predsedom správnej rady.
Národná stratégia uvádza, že až tri pätiny cyklistických komunikácií tvoria samostatné komunikácie, ktoré slúžia iba pre cyklistov (15 %) alebo so zmiešanou prevádzkou pre cyklistov a peších (22 %) alebo oddelenou prevádzkou (23 %). Dve pätiny cyklistických komunikácií sú v hlavnom alebo pridruženom dopravnom priestore (samostatne 16 % alebo s chodcami 18 %). Iba 6 % všetkých cyklistických komunikácií je v hlavnom dopravnom priestore vo forme cyklistického pruhu, pásu alebo cyklokoridoru.

V čom je vaše riešenie originálne a aké má výhody?
Aktuálne štatistické údaje Ministerstva dopravy a výstavby SR za rok 2020 uvádzajú, že celková dĺžka železničných tratí na Slovensku je približne 3 650 km. Z toho viac ako 300 km sú minimálne využívané trate a z nich viac ako 100 kilometrov sa dlhodobo nevyužíva.
Jedným z možných a moderných prístupov je stavba modulárnych cyklotrás na podklade nevyužívaných koľajísk. Náš projekt Trailpanel navrhuje premeniť opustené železničné trate na cyklotrasy bez odstránenia koľají, len ich jednoduchou zmenou účelu. Podstata myšlienky spočíva v montáži prefabrikovaných panelov na existujúce koľaje. Predložený inovatívny projekt ponúka komplexnú analýzu možnosti premeny nevyužívaných železničných tratí na funkčné, moderné cyklotrasy.

Tento prístup v sebe zahŕňa celý rad výhod, ako sú napríklad možnosť zhodnotenia nevyužiteľného odpadu z plastov a gumy, jednoduchá a rýchla stavba cyklotrate či, naopak, možnosť rýchlej opätovnej obnovy trate. Okrem toho pri budovaní odpadá problém s vysporiadaním pozemkov.
Kde ste sa inšpirovali?
Mnohé zahraničné štáty premenili opustené železničné trate na greenways – multifunkčné chodníky alebo na iné turistické a komerčné účely. Väčšinou sa však takéto prestavby robili demontážou koľají a následným liatím betónovej alebo asfaltovej zmesi, často aj v prírode. My sme chceli skúsiť jednoduchšie a inovatívnejšie riešenie.

Prečo ste si zvolili práve železničné koľaje?
Hlavným dôvodom je dlhodobý nezáujem o prevádzkovanie dopravy v niektorých lokalitách zo strany dopravcov bez deklarácie možného obnovenia dopravy v budúcom období. Ide však aj o pokles cestujúcich v dôsledku zániku pracovných príležitostí v záujmovom území, nevyhovujúci technický stav trate alebo chýbajúcu strategickú výstavbu v blízkosti tratí.
Dať nevyužívaným železničným tratiam nové využitie má však nepochybne aj ekonomické benefity. Z dostupných údajov Železníc Slovenskej republiky je známe, že napríklad v roku 2017 museli investovať takmer 135 000 eur ako náklady na starostlivosť o približne 47 km nevyužívaných tratí.
Čo prináša váš projekt?
Množstvo opustených, nefunkčných a stratových železničných tratí na Slovensku priam volá po ich zmysluplnom využití. Nevyužívané železničné trate môže vlastník podľa zákona za účelom dopravy prenajať alebo predať obci, združeniu obcí alebo samosprávnemu kraju. Využitie na účely prevádzky koľajovej nemotorovej dopravy, dočasného vybudovania miestnej komunikácie vrátane cyklistickej trasy alebo chodníka pre peších je možné so súhlasom Ministerstva dopravy a výstavby SR na obdobie minimálne troch rokov, maximálne na 10 rokov s možnosťou predĺženia o maximálne ďalších 10 rokov.
Riešením nami predkladaného projektu je umožniť dočasné alebo dlhodobé využitie neprevádzkovaných železničných tratí ako trasy pre alternatívne druhy dopravy, ako sú cyklotrasy či chodníky pre chodcov. Cieľom je prekrytie takýchto tratí stavebnicovým prefabrikovaným panelovým systémom.
Z čoho sa skladá vami navrhovaný systém?

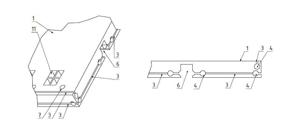
Základom navrhovaného modulárneho systému sú dva montážne prvky, prefabrikovaný panel a spojka. Prefabrikovaný panel tvorí ploché teleso hranatého geometrického tvaru z kompozitného materiálu na báze recyklovaného plastu. Tento systém počíta s panelmi obdĺžnikového (3 × 1 m) alebo lichobežníkového tvaru (3 × 1,3 × 1 m) a predpokladaná výška panelov je 0,2 m.
Konštrukčné riešenie prefabrikovaného panelového systému umožňuje spájanie panelov pomocou spojok v rovine za sebou alebo vedľa. To umožňuje prekrytie jednej trate, ale napríklad aj prekrytie dvoch tratí vedľa seba alebo dokonca prekrytie celých nástupíšť s niekoľkými koľajovými traťami. Konštrukčné riešenie súčasne umožňuje vytvárať aj priestorové usporiadanie panelov. Výhody prefabrikovaného panela a prefabrikovaného panelového systému sú ich univerzálnosť, použitie len dvoch montážnych prvkov, jednoduché a čisté konštrukčné riešenie.

Montáž asi nebude problémom…
Montáž je veľmi jednoduchá a spočíva len v zasúvaní spojok do vhodných otvorov panelov podľa požadovaného vytvoreného spoja. Originálny systém konštrukcie zabezpečuje spojkami fixovanie panelov o samotné koľajnice a súčasne vzájomné fixovanie panelov. Tieto spojky pritom nie sú zvonku prístupné. V dôsledku toho nie je možné bez mechanického poškodenia panelový systém v ktoromkoľvek mieste rozobrať.
Rôznym radením panelov lichobežníkového tvaru je možné dosiahnuť prekrytie priamych alebo zakrivených koľajníc. Priestorové radenie panelov umožňuje vytvárať aj malé stavby, ako sú prístrešky pre cyklistov, tunely alebo zábrany proti zosúvaniu zeminy zo svahu.

Panely však nemusia byť inštalované iba na železničné trate, ale môžu sa využiť aj na prekrytie ľubovoľných vhodne upravených plôch, ako sú chodníky alebo rôzne nástupištia či odstavné plochy.
Pri návrhu konštrukcie panelov sme mysleli aj na efektívnu a rýchlu montáž, prípadne demontáž. Panely sú vybavené otvormi na ich uchytenie pri preprave a samotnej montáži. Vytvorený systém uvažuje s automatizovanou montážou jednotlivých panelov, vo variante aj s prepravou panelov priamo po železnici a montážou panelov napríklad vhodným žeriavovým systémom.
A čo otázka bezpečnosti cyklistov?
Bezpečnosť musí byť na prvom mieste. Preto pri navrhovanom riešení budovania cyklodráh uvažujeme aj s ich osvetlením. Svietidlá popri trati budú napojené na fotovoltické články. Elektronické kontakty zabudované v paneloch budú slúžiť na kontrolu neporušenosti trate. Otvory v paneloch zabezpečia odvod dažďovej vedy a možnosť jednoduchej montáže zábradlia cez mosty a iné prevýšenia. Prípadné inžinierske siete je možné inštalovať do voľných otvorov v paneloch.

Čo vás čaká v najbližšom období?
V súčasnosti máme vyrobené prvé demonštračné modely panelov, ktoré sme kvôli zjednodušeniu vyrobili z dreva. Cieľom nášho ďalšieho výskumu tohto projektu je návrh vhodného zloženia kompozitného materiálu pre výrobu panelov, návrh formy a technologického postupu ich výroby, výroba prototypu, jeho pevnostné skúšky a návrh technologickej linky na opakovanú výrobu panelov. Pri výrobe kompozitného betónu plánujeme spracovať už inak nevyužiteľný odpad najmä z plastu a gumy.
Viem, že je pred nami veľa práce. Pri realizácii projektu vzniká zaujímavá spolupráca vysokých škôl a súkromného sektora. Zo Slovenskej technickej univerzity v Bratislave a Vysokého učení technického v Brne sa do projektu zapojili strojnícke a stavebné fakulty. Za súkromný sektor sú to najmä firmy Švec Group a Power Mode. Takéto združenie ponúkne záujemcom o vybudovanie cyklotrate komplexné riešenie od analýzy stavu železničnej trate cez vypracovanie projektu, výrobu modulárneho panelového systému až po jeho kladenie a upevňovanie.
Za rozhovor ďakuje redakcia Quarku
Foto a schémy archív Ľ. Šooša
